背靠大厂日入2000+,大鱼号保姆级教程,0成本,0基础小白看了就能上手

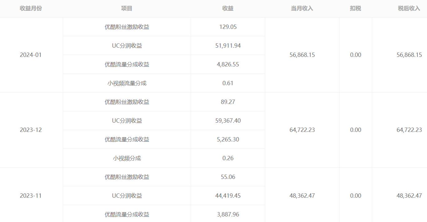
我们大家都知道抖音和西瓜视频推出过中视频计划,通过发布视频达到一定的播放量给予一定的奖励,目前有些自媒体渠道APP也推出了类似中视频的奖励计划,通过达到一定播放量给予奖励表以及广告的播放奖励,但是由做的人也还不是很多,所以目前正处在蓝海阶段,我们就拿大鱼号举例子,目前对于视频的检测非常宽容,这也方便了我们去其他平台进行简单的搬运视频来上传变现,简化了我们的操作成本,尤其对于新手小白更加友好,可以矩阵操作,这是我手下一个学员1月份在做这个项目的一个收益情况:



© 版权声明
THE END






















暂无评论内容